If you click on a link and make a purchase we may receive a small commission. Read our editorial policy.

Nintendo prevails in Triton patent lawsuit

Seattle federal judge dismisses the case against Nintendo

A federal judge in Seattle has dismissed a patent-infringement lawsuit brought against Nintendo of America by Triton. Triton had alleged that the Wii MotionPlus accessory violated U.S. Patent No. 5,181,181 owned by the company, filing its suit in Texas. Nintendo later won a transfer of the case to Seattle, where Judge Richard A. Jones rejected the case after hearing Triton's legal arguments.

"We feel vindicated by the court's ruling," said Nintendo of America deputy general counsel Richard Medway. "Nintendo's track record demonstrates that we vigorously defend patent lawsuits, like the Triton lawsuit, when we believe that we have not infringed another party's patent. Consumers respect Nintendo because we develop unique and innovative products, and because we respect the intellectual property rights of others."

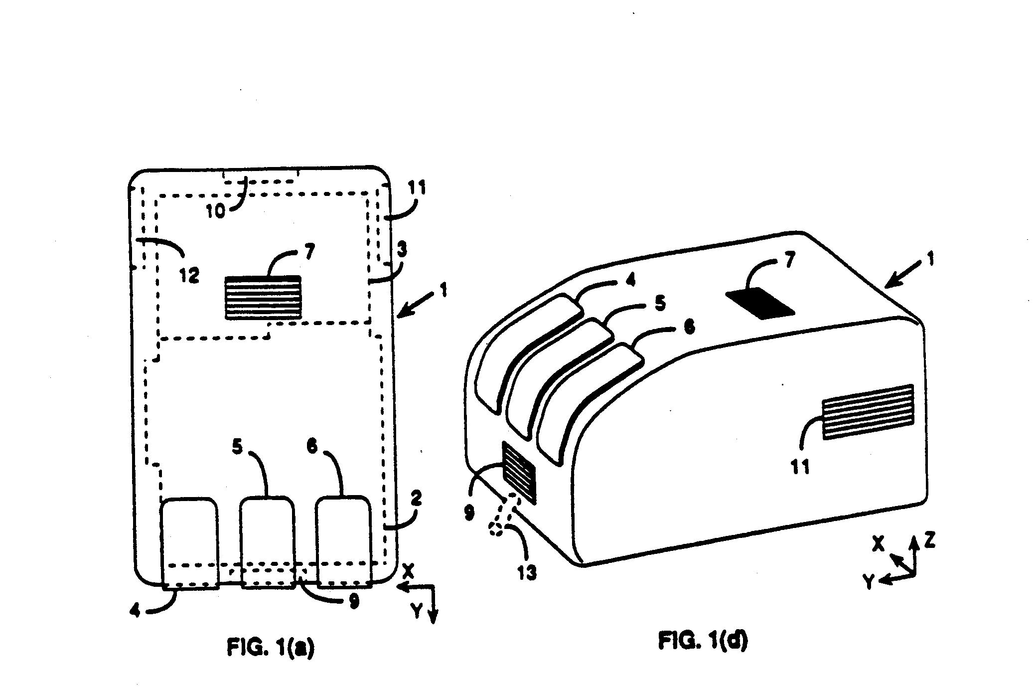
Triton's patent involved a mouse (pictured) which could sense six degrees of motion in three dimensions. The device used three accelerometers to sense movement.

Topics in this article

Follow topics and we'll email you when we publish something new about them.  Manage your notification settings .

Author
Mike Williams avatar

Mike Williams

Reviews Editor, USgamer

M.H. Williams is new to the journalism game, but he's been a gamer since the NES first graced American shores. Third-person action-adventure games are his personal poison: Uncharted, Infamous, and Assassin's Creed just to name a few. If you see him around a convention, he's not hard to spot: Black guy, glasses, and a tie.

Comments